
全国服务热线 说话选择 :EN

武大3868la银河总站结构股份有限公司
WUDAJUCHENG STRUCTURE CO.,LTD
1 技术介绍
3868la银河总站结构钻研开发了一套水下钢围堰技术,利用于水下结构建复。针对桥梁桥墩水下施工,提出了将钢套箱套入被水覆没后的桥墩,并利用悬挂横梁将其定位悬挂于水下桥墩上,形成一个密关的无水空间的技术规划。
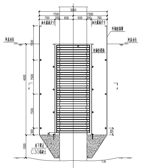
针对桥梁桩柱水下维建的施工围堰,属于构筑施工构件。筒体的周边和底面由两片或两片以上的筒壁板经衔接件密封衔接而成,筒壁板的底部与桥梁桩柱的表表表相贴合,各筒壁板的底部相互拼接成与桥梁桩柱截面状态相对应的通孔状态,由此形成围堰,将围堰内水排干后形成干地作业环境,由此可对桥梁桩柱进行维建和施工。
该技术装置和步骤可对水下的桥墩进行施工作业,围堰薄,围水面积幼,易于组装和拆除,削减了施工量,成本较低,施工量幼,使用安全靠得住。已在福建宁德八座跨海大桥水下柱建复工程中成功利用。
2 工程利用
2.1 福宁高快公路跨海桥梁下部机关维建处治工程
本工程于2007年施工。重要施工内容蕴含:田螺特大桥、云淡1号桥、下白石特大桥、盐田大桥、杨家溪1号桥、杨家溪2号桥、八尺门特大桥、流美特大桥等八座跨海大桥的下部机关维建处治,选取水下湿固性环氧混凝土和水下表包高机能混凝土加固桩基。通过装置水下钢围堰提供施工作业面。该工程水流快5m/m,施工区域海水深27m,在水下9m以上设置钢围堰进行施工。
(a) 福建宁德八座跨海大桥水下桩基建复
(b) 水下钢围堰结构设计图及桩基建复设计图
图 福宁高快公路跨海桥梁下部机关维建处治工程